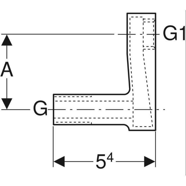
capezzolo eccentrico

Produttore Geberit
Nessuna immagine dell'articolo
Trovato: 1
1 da 1